|
|
Volkswagen GTI, Golf, Jetta
Service Manual: 1985, 1986, 1987, 1988, 1989, 1990, 1991, 1992
Price: $139.95
|
| Engine code | GX, MZ | HT, RD, RV, PF |
PL, 9A | ME, MF, 1V (with hydraulic cam followers) |
ME, MF (with mechanical cam followers) |
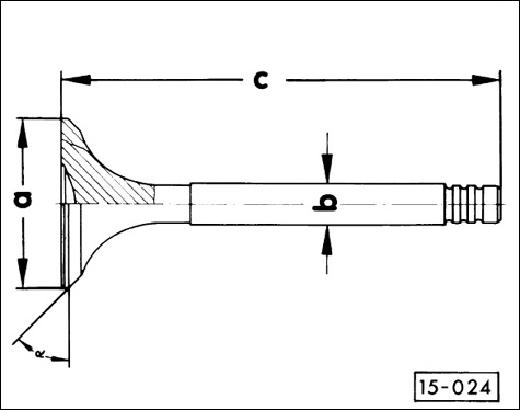
| Valve head diameter (a) intake exhaust |
38.00 mm (1.496 in.) 33.00 mm (1.299 in.) |
40.00 mm (1.575 in.) 33.00 mm (1.299 in.) |
32.00 mm (1.259 in.) 28.00 mm (1.102 in.) |
34.00 mm (1.339 in.) 31.00 mm (1.220 in.) |
34.00 mm (1.339 in.) 31.00 mm (1.220 in.) |
| Valve stem diameter (b) intake exhaust |
7.97 mm (.3138 in.) 7.95 mm (.3130 in.) |
7.97 mm (.3138 in.) 7.95 mm (.3130 in.) |
6.97 mm (.2744 in.) 6.94 mm (.2732 in.) |
7.97 mm (.3138 in.) 7.95 mm (.3130 in.) |
7.97 mm (.3138 in.) 7.95 mm (.3130 in.) |
| Valve length (c) intake exhaust |
91 mm (3.583 in.) 90.80 mm (3.575 in.) |
91 mm (3.583 in.) 90.80 mm (3.575 in.) |
95.50 (3.760 in.) 98.20 mm (3.866 in.) |
95.00 (3.740 in.) 95.00 mm (3.740 in.) |
104.80 mm (4.126 in.) 104.60 mm (4.118 in.) |
| Valve face angle (d) intake exhaust |
45° 45° |
45° 45° |
45° 45° |
45° 45° |
45° 45° |
| Valve margin (e) |
- |
- |
- |
0.5 mm (0.020 in.) |
0.5 mm (0.020 in.) |
| Valve spring length inner outer |
- - |
- - |
- - |
32.5 mm (1.28 in.) 37.00 mm (1.46 in.) |
33.9 mm (1.33 in.) 40.2 mm (1.58 in.) |
Table f. Valve and Valve Spring Specifications
Engine
page 27
![[B] Bentley Publishers](http://assets1.bentleypublishers.com/images/bentley-logos/bp-banner-234x60-bookblue.jpg)
